News

MacTech.com
mactech.com > 01/16/2026 > apple-patent-is-for-airpower-like-wireless-power-transfer-system-and-method-2

Apple patent is for AirPower-like ‘wireless power transfer system and method’

Apple patent is for AirPower-like ‘wireless power transfer system and method’1+ hour, 37+ min ago   (336+ words) Apple patent is for AirPower-like "wireless power transfer system and method'MacTech.com Apple patent is for AirPower-like "wireless power transfer system and method Apple has been filed for yet another patent for a "wireless power transfer system and method." Its…...

MacTech.com
mactech.com > 01/15/2026 > apple-granted-patent-for-survival-time-communication-techniques

Apple granted patent for ‘Survival Time Communication Techniques’

Apple granted patent for ‘Survival Time Communication Techniques’20+ hour, 34+ min ago   (141+ words) Posted by Dennis Sellers | Jan 15, 2026 | MacTech News | Apple has been granted a patent for "Survival Time Communication Techniques." In the patent Apple notes that (obviously) wireless communication systems are rapidly growing in usage. Further, wireless communication technology has evolved from…...

@mactech
mactech.com > 01/14/2026 > apple-granted-patent-for-computer-systems-with-handheld-controllers > amp

Apple granted patent for ‘Computer Systems With Handheld Controllers’

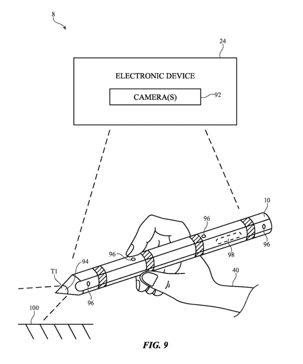
Apple granted patent for ‘Computer Systems With Handheld Controllers’2+ day, 9+ hour ago   (345+ words) Apple granted patent for "Computer Systems With Handheld Controllers'MacTech.com Apple has been granted a patent for "Computer Systems With Handheld Controllers." Basically, it involves controlling Macs, iPhone, and iPads with Apple Vision Pros and/or Apple Pencils. The patent…...

MacTech.com
mactech.com > 01/14/2026 > news-items-you-should-check-out-january-14-2

News items you should check out: January 14

News items you should check out: January 142+ day, 9+ hour ago   (223+ words) Posted by Dennis Sellers | Jan 14, 2026 | MacTech News | " From MacRumors: Apple's retail store in Santa Rosa, California will be moving from the Santa Rosa Plaza shopping mall to the open-air Montgomery Village shopping plaza later this month. "From 9to5Mac: Apple is participating…...

MacTech.com
mactech.com > 01/14/2026 > iphone-attacks-are-underway-you-should-probably-reboot-your-smartphone

iPhone attacks are underway; you should probably reboot your smartphone

iPhone attacks are underway; you should probably reboot your smartphone2+ day, 16+ hour ago   (107+ words) iPhone attacks are underway; you should probably reboot your smartphone'MacTech.com iPhone attacks are underway; you should probably reboot your smartphone Apple has warned that iPhone attacks are underway and has released fixes to keep users safe. You should probably…...

MacTech.com
mactech.com > 01/13/2026 > apple-introduces-a-collection-of-apps-for-the-mac-and-ipad-dubbed-apple-creator-studio

Apple introduces a collection of apps for the Mac and iPad dubbed Apple Creator Studio

Apple introduces a collection of apps for the Mac and iPad dubbed Apple Creator Studio3+ day, 6+ hour ago   (244+ words) Apple introduces a collection of apps for the Mac and iPad dubbed Apple Creator Studio'MacTech.com Apple introduces a collection of apps for the Mac and iPad dubbed Apple Creator Studio Apple has unveiled Apple Creator Studio, a collection of…...

@mactech
mactech.com > 01/13/2026 > apple-releases-second-public-betas-of-macos-tahoe-26-3-ios-26-3-ipados-26-3-tvos-26-3-watchos-26-3 > amp

Apple releases second public betas of macOS Tahoe 26.3, iOS 26.3, iPadOS 26.3, tvOS 26.3, watchOS 26.3

Apple releases second public betas of macOS Tahoe 26.3, iOS 26.3, iPadOS 26.3, tvOS 26.3, watchOS 26.33+ day, 6+ hour ago   (93+ words) Apple releases second public betas of macOS Tahoe 26.3, iOS 26.3, iPadOS 26.3, tvOS 26.3, watchOS 26.3MacTech.com Apple has released the second public betas of macOS Tahoe 26.3. iOS 26.3, iPadOS 26.3, tvOS 26.3, and watchOS 26.3. Public betas are available on Apple's Beta Software Program website. Just remember…...

MacTech.com
mactech.com > 01/12/2026 > apple-will-use-googles-gemini-for-its-ai-powered-siri

Apple will use Google’s Gemini for its AI-powered Siri

Apple will use Google’s Gemini for its AI-powered Siri4+ day, 2+ hour ago   (254+ words) Posted by Dennis Sellers | Jan 12, 2026 | MacTech News | Apple is teaming up with Google to use Gemini models for an AI-powered Siri, reports CNBC. The multiyear partnership will lean on Google's Gemini and cloud technology for future Apple foundational models, according…...

MacTech.com
mactech.com > 01/07/2026 > future-mac-laptops-could-sport-retractable-keyboards-2

Future Mac laptops could sport retractable keyboards

1+ week, 2+ day ago   (241+ words) Posted by Dennis Sellers | Jan 7, 2026 | MacTech News | This hasn't happened yet, but it might be cool if/when it does. Future Mac laptops could sport retractable keyboards per an Apple patent (number 11,181,949) granted in 2021. In the patent, the tech giant…...

MacTech.com
mactech.com > 01/06/2026 > intricuit-previews-a-snap-on-touchscreen-for-mac-laptops > amp

Intricuit previews a snap-on touchscreen for Mac laptops

1+ week, 3+ day ago   (169+ words) Intricuit has announced a Kickstarter campaign to finance Magic Screen, a snap-on touchscreen for a Mac laptop. It aligns to the laptop's display using the built-in magnets that let your Mac know when the lid is closed to trigger sleep…...